0755-23736280

地 址:深圳市光明區玉塘街道光僑大道1028號匯東晟工業園1棟9樓
電 話:0755-23736280 ?
0755-23736281
技術支持:0755-82778786
傳 真:0755-26746512
郵箱:sales@mchlight.com
產品名稱 : 1480nm高功率偏振分束器/合束器(PBS/PBC)
產品型號:MCHPBS-1480-5-P15-P150-10-L-N
工作波長:1480nm
功率 : 10W 20W 30W
光纖類型 : SMF-28e PM1550

|
產品特點
|
應用領域
|
|
低插入損耗
|
光纖激光器
|
|
高消光比
|
光纖放大器
|
|
高承受功率
|
相干通信
|
|
高穩定性和可靠性
|
光纖陀螺
|
|
參數
|
單位
|
數值
|
|
中心波長
|
nm
|
1480
|
|
工作帶寬
|
nm
|
±40
|
|
典型插入損耗
|
dB
|
0.3
|
|
最大損耗
|
dB
|
0.5
|
|
最小消光比
|
dB
|
22
|
|
方向性
|
dB
|
50
|
|
回波損耗
|
dB
|
50
|
|
承受功率 CW
|
W
|
5 10 20 30可選
|
|
脈沖功率
|
KW
|
10
|
|
光纖類型
|
-
|
Ports 1&2:PM1550;Port 3:SMF-28e or PM1550
|
|
光纖長度
|
m
|
1或其它
|
|
連接頭類型
|
-
|
無
|
|
最大拉力
|
N
|
5
|
|
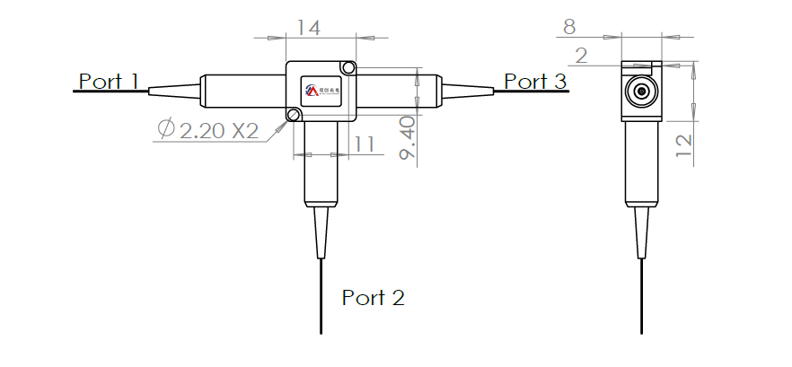
封裝尺寸
|
mm
|
14x12x8
|
|
工作溫度
|
℃
|
-5~+70
|
|
儲存溫度
|
℃
|
-40~+85
|

|
MCHPBS/C
|
①
|
②
|
③
|
④
|
⑤
|
⑥
|
⑦
|
|
工作波長
|
承受功率
|
光纖類型Port1&2
|
光纖類型Port3
|
尾纖長度
|
尾套類型
|
連接頭類型
|
|
|
1480-1480nm
|
5-5W
10-10W
S-其它
|
P15-PM1550
|
S2-SMF-28e
P155-PM1550慢軸 45°對準 Port 1
P150-PM1550慢軸對準Port 1
|
08-0.8m
10-1.0m
15-1.5m
S-其它
|
B-250um裸纖
L-900um套管
S-其它
|
N-None
|
